標準的潤滑旋片泵是具有一體式閉環油循環系統的單級泵。結構堅固耐用。典型的葉片壽命為50,000小時。
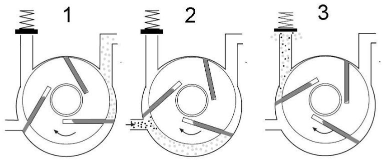
泵轉子偏心安裝在泵缸中。隨著泵轉子的旋轉,進氣被困在轉子和葉片段之間(請參見下圖中的#1)。這會在入口側增加細胞體積,從而產生真空。
由于轉子偏心于泵室,因此轉子,葉片和殼體之間的體積減小,轉子旋轉增加。隨著旋轉的繼續,空氣被壓縮并排放到排氣箱中。請參見下圖中的#3。

空氣然后經過內部除油霧器的多個階段,以從廢氣中去除99.9%的潤滑油。然后將油返回到儲油器。
在給定的溫度下,蒸氣只能被壓縮到飽和蒸氣壓。超過此點,蒸氣冷凝。例如,在100°C下,蒸氣可能僅壓縮到1,013.2 mbar;蒸氣將在較高壓力下冷凝。
在水容器中(室溫),泵將開始將壓力降低至水的蒸發點(如果水在海平面上處于25°C,則蒸發壓力將為31.67 mbarjue對壓力)。在上圖中的階段1中,泵將開始吸入空氣和水蒸氣的混合物。
在階段2中,進氣量與原始容器和排氣管隔離。在此階段,氣鎮上的閥打開并添加一定量的空氣以改變混合物的飽和壓力。
zui后,在zui后階段,混合物(富含新鮮空氣)被排出,但是由于改變了飽和壓力,因此不會形成冷凝液滴,并且可以在不影響泵工作的情況下從泵中排出進氣。
因此,兩個因素至關重要:進氣溫度和泵溫度。在開始使用可冷凝氣體運行之前,必須先對泵進行加熱,并且進氣溫度必須盡可能低。
主要區別包括: